Menu
EUR
Flachsteckhülse (m) - 4,8mm / rot - halbisoliert (100 Stück)
€15,99 Inkl. MwSt.
Zum Warenkorb hinzufügen
Flachsteckhülse (m) - 4,8mm / rot - halbisoliert (100 Stück)
Elematic

Flachsteckhülse (m) - 4,8mm / rot - halbisoliert (100 Stück)

€15,99 Inkl. MwSt.

Typ / Farbe: Flachstecker / Rot
Männlich (halb isoliert)
Einsteckbreite: 4,8 mm
Einstecktiefe: 0,8 mm
Leiterquerschnitt: 0,25 - 1,5 mm² Lesen Sie mehr.

3-5 Werktage
  • Kundenbewertung 9,2/10
  • 3–5 Werktage Lieferzeit
  • 10+ Jahre Produktkenntnis

Produktbeschreibung

Flachsteckhülse (m) - 4,8 mm / rot - halbisoliert (100 Stück)

Verwenden Sie diese Flachsteckhülse für vielfältige Anwendungen. Die Lieferung umfasst 1 Beutel mit 100 Flachsteckhülsen.

Flachsteckhülsen

Flachsteckhülsen sind häufig verwendete Bauteile in der Elektrotechnik. Eine Flachsteckhülse ist ein Fast On- (oder Push On-) Anschluss, der mit einer speziellen Crimpzange an ein Kupferkabel gecrimpt wird. Es gibt verschiedene Arten von Flachsteckhülsen, die Sie als praktisches Verbindungselement zum Verbinden von Kabeln verwenden können.

Verschiedene Farben der Flachsteckhülsen

Flachsteckhülsen sind in 3 verschiedenen Farben erhältlich:
  • rot: maximale Stromstärke zwischen 0 und 16 A und Leiterquerschnitt zwischen 0,25 und 1,5 mm² (AWG 22-16)
  • blau: maximale Stromstärke zwischen 17 und 25 A und Leiterquerschnitt zwischen 1,5 und 2,5 mm² (AWG 16-14)
  • gelb: maximale Stromstärke zwischen 26 und 40 A und Leiterquerschnitt zwischen 4,0 und 6,0 mm² (AWG 12-10)

Technische Daten Flachsteckhülse (m) - 4,8 mm / rot - halbisoliert (100 Stück)

  • Typ: Flachstecker
  • Ausführung: männlich
  • Isolierung: halbisoliert
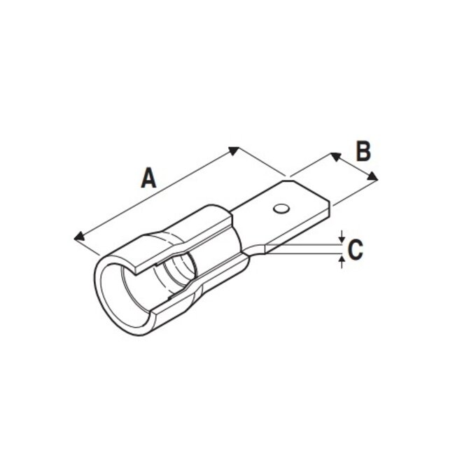
  • Länge: 19,8 mm (siehe A)
  • Breite: 4,8 mm (siehe B)
  • Dicke: 0,8 mm (siehe C)
  • maximale Stromstärke: 0 bis 16 A
  • Leiterquerschnitt: 0,25 bis 1,5 mm² (AWG 22 bis AWG 16)
  • Material: elektrolytisch verzinntes Kupfer mit PVC-Isolierung
  • Lieferumfang: 1 Beutel mit 100 Flachsteckhülsen
  • Farbe: rot
  • Normen: RoHS, UL (E344188)
  • Garantie: 2 Jahre

Downloads

Eigenschaften

SKU
EL-11230153
Haben Sie Fragen zu diesem Produkt?
Nehmen Sie Kontakt mit unserem Kundenservice über [email protected] auf. Wir helfen Ihnen gerne!
Haben Sie Fragen zu diesem Produkt?
Nehmen Sie Kontakt mit unserem Kundenservice über [email protected] auf. Wir helfen Ihnen gerne!

Zuletzt angesehen

Elematic Flachsteckhülse (m) - 4,8mm / rot - halbisoliert (100 Stück)
Elematic
Flachsteckhülse (m) - 4,8mm / rot - halbisoliert (100 Stück)
Typ / Farbe: Flachstecker / Rot
Männlich (halb isoliert)
Einsteckbreite: 4,8...
€15,99 €13,44
* Inkl. MwSt. zzgl. Versandkosten
Varta Varta AA (LR6) Industrial Pro Batterien – 10 Stück im Blister
Varta
Varta AA (LR6) Industrial Pro Batterien – 10 Stück im Blister
Anzahl der Batterien: 10
Batterietyp: Penlite AA (LR6)
Spannung: 1,5 V
Tec...
€7,99 €6,71
* Inkl. MwSt. zzgl. Versandkosten
InLine USB-C auf USB-B Kabel - USB 2.0 - bis 3A / Schwarz - 1,5 m
InLine
USB-C auf USB-B Kabel - USB 2.0 - bis 3A / Schwarz - 1,5 m
USB-C (m) - USB-B (m)
USB 2.0
Leiter: verzinntes Kupfer
AWG: 28/23 AWG
D...
€9,49 €7,97
* Inkl. MwSt. zzgl. Versandkosten
Elematic Gabelkabelschuh (m) - 5,3mm (M5) / gelb (100 Stück)
Elematic
Gabelkabelschuh (m) - 5,3mm (M5) / gelb (100 Stück)
Typ / Farbe: Gabelstecker / Gelb
Männlich (halb isoliert)
Breite der Gabelöf...
€31,99 €26,88
* Inkl. MwSt. zzgl. Versandkosten

Eigenschaften

SKU
EL-11230153
0/5
0 Sterne, basierend auf 0 Bewertungen
0 reviews
Wähle deine Sprache
Wähle deine Währung

Mein Konto

Passwort vergessen?

Zuletzt hinzugefügt

Gesamt inkl. MwSt
€0,00
Kostenloser Versand wenn Sie noch €75,00 zusätlich bestellen
0
Vergleichen
Vergleich starten

Review Elematic Flachsteckhülse (m) - 4,8mm / rot - halbisoliert (100 Stück)

Dieses Produkt wurde in Ihren Warenkorb gelegt!