Menu
EUR
Flachsteckhülse (m) - 6,3 mm / blau - isoliert (100 Stück)
€30,99 Inkl. MwSt.
Zum Warenkorb hinzufügen
Flachsteckhülse (m) - 6,3 mm / blau - isoliert (100 Stück)
Elematic

Flachsteckhülse (m) - 6,3 mm / blau - isoliert (100 Stück)

€30,99 Inkl. MwSt.

Typ / Farbe: Flachstecker / Blau
Männlich (vollständig isoliert)
Steckbreite: 6,3 mm
Steckdicke: 0,8 mm
Leiterquerschnitt: 1,5 - 2,5 mm² Lesen Sie mehr.

3-5 Werktage
  • Kundenbewertung 9,2/10
  • 3–5 Werktage Lieferzeit
  • 10+ Jahre Produktkenntnis

Produktbeschreibung

Flachsteckhülse (m) - 6,3 mm / blau - isoliert (100 Stück)

Verwenden Sie diese Flachsteckhülse für vielfältige Anwendungen. Die Lieferung umfasst 1 Beutel mit 100 Steckhülsen.

Steckhülsen

Steckhülsen sind häufig verwendete Bauteile in der Elektrotechnik. Eine Steckhülse ist ein Fast On (oder Push On) Verbinder, der mit einer speziellen Crimpzange an einem Kupferkabel befestigt wird. Es gibt verschiedene Arten von Steckhülsen, die Sie als praktische Verbindungselemente nutzen können, um Kabel miteinander zu verbinden.

Verschiedene Farben der Steckhülsen

Steckhülsen sind in 3 verschiedenen Farben erhältlich:
  • rot: maximale Stromstärke zwischen 0 und 16 A und Leiterquerschnitt zwischen 0,25 und 1,5 mm² (AWG 22-16)
  • blau: maximale Stromstärke zwischen 17 und 25 A und Leiterquerschnitt zwischen 1,5 und 2,5 mm² (AWG 16-14)
  • gelb: maximale Stromstärke zwischen 26 und 40 A und Leiterquerschnitt zwischen 4,0 und 6,0 mm² (AWG 12-10)

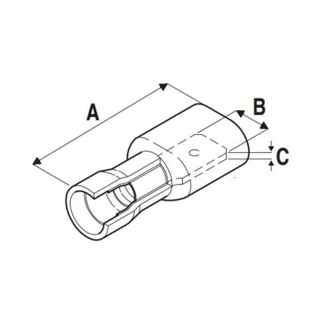
Technische Daten Flachsteckhülse (m) - 6,3 mm / blau - isoliert (100 Stück)

  • Typ: Flachstecker
  • Ausführung: männlich
  • Isolierung: vollständig isoliert
  • Länge: 23,4 mm (siehe A)
  • Breite: 6,3 mm (siehe B)
  • Dicke: 0,8 mm (siehe C)
  • maximale Stromstärke: 17 bis 25 A
  • Leiterquerschnitt: 1,5 bis 2,5 mm² (AWG 16 bis AWG 14)
  • Material: elektrolytisch verzinntes Kupfer mit Nylon-Isolierung
  • Lieferumfang: 1 Beutel mit 100 Steckhülsen
  • Farbe: blau
  • Normen: RoHS, UL (E344188)
  • Garantie: 2 Jahre

Downloads

Eigenschaften

SKU
EL-11236263
Haben Sie Fragen zu diesem Produkt?
Nehmen Sie Kontakt mit unserem Kundenservice über [email protected] auf. Wir helfen Ihnen gerne!
Haben Sie Fragen zu diesem Produkt?
Nehmen Sie Kontakt mit unserem Kundenservice über [email protected] auf. Wir helfen Ihnen gerne!

Zuletzt angesehen

Elematic Flachsteckhülse (m) - 6,3 mm / blau - isoliert (100 Stück)
Elematic
Flachsteckhülse (m) - 6,3 mm / blau - isoliert (100 Stück)
Typ / Farbe: Flachstecker / Blau
Männlich (vollständig isoliert)
Steckbreite...
€30,99 €26,04
* Inkl. MwSt. zzgl. Versandkosten

Eigenschaften

SKU
EL-11236263
0/5
0 Sterne, basierend auf 0 Bewertungen
0 reviews
Wähle deine Sprache
Wähle deine Währung

Mein Konto

Passwort vergessen?

Zuletzt hinzugefügt

Gesamt inkl. MwSt
€0,00
Kostenloser Versand wenn Sie noch €75,00 zusätlich bestellen
0
Vergleichen
Vergleich starten

Review Elematic Flachsteckhülse (m) - 6,3 mm / blau - isoliert (100 Stück)

Dieses Produkt wurde in Ihren Warenkorb gelegt!