Menu
EUR
Flachsteckhülse (m) - 6,3 mm / rot - halbisoliert (100 Stück)
€15,99 Inkl. MwSt.
Zum Warenkorb hinzufügen
Flachsteckhülse (m) - 6,3 mm / rot - halbisoliert (100 Stück)
Elematic

Flachsteckhülse (m) - 6,3 mm / rot - halbisoliert (100 Stück)

€15,99 Inkl. MwSt.

Typ / Farbe: Flachstecker / Rot
Männlich (halbisoliert)
Einsteckbreite: 6,3 mm
Einstecktiefe: 0,8 mm
Aderquerschnitt: 0,25 - 1,5 mm² Lesen Sie mehr.

3-5 Werktage
  • Kundenbewertung 9,2/10
  • 3–5 Werktage Lieferzeit
  • 10+ Jahre Produktkenntnis

Produktbeschreibung

Flachsteckhülse (m) - 6,3 mm / rot - halbisoliert (100 Stück)

Verwenden Sie diese Flachsteckhülse für vielfältige Anwendungen. Die Lieferung umfasst 1 Beutel mit 100 Steckhülsen.

Steckhülsen

Steckhülsen sind häufig verwendete Bauteile in der Elektrotechnik. Eine Steckhülse ist ein Fast-On- (oder Push-On-) Anschluss, der mit einer speziellen Crimpzange an einem Kupferkabel befestigt wird. Es gibt verschiedene Arten von Steckhülsen, die Sie als praktische Verbindungselemente zum Verbinden von Kabeln verwenden können.

Verschiedene Farben der Steckhülsen

Steckhülsen sind in 3 verschiedenen Farben erhältlich:
  • rot: maximale Stromstärke von 0 bis 16 A und Leiterquerschnitt von 0,25 bis 1,5 mm² (AWG 22-16)
  • blau: maximale Stromstärke von 17 bis 25 A und Leiterquerschnitt von 1,5 bis 2,5 mm² (AWG 16-14)
  • gelb: maximale Stromstärke von 26 bis 40 A und Leiterquerschnitt von 4,0 bis 6,0 mm² (AWG 12-10)

Technische Daten Flachsteckhülse (m) - 6,3 mm / rot - halbisoliert (100 Stück)

  • Typ: Flachstecker
  • Ausführung: männlich
  • Isolierung: halbisoliert
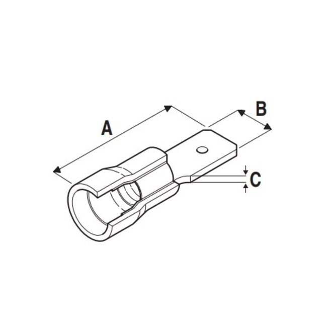
  • Länge: 21,8 mm (siehe A)
  • Breite: 6,3 mm (siehe B)
  • Dicke: 0,8 mm (siehe C)
  • maximale Stromstärke: 0 bis 16 A
  • Leiterquerschnitt: 0,25 bis 1,5 mm² (AWG 22 bis AWG 16)
  • Material: elektrolytisch verzinntes Kupfer mit PVC-Isolierung
  • Lieferumfang: 1 Beutel mit 100 Steckhülsen
  • Farbe: rot
  • Konformität: RoHS, UL (E344188)
  • Garantie: 2 Jahre

Downloads

Eigenschaften

SKU
EL-11230163
Haben Sie Fragen zu diesem Produkt?
Nehmen Sie Kontakt mit unserem Kundenservice über [email protected] auf. Wir helfen Ihnen gerne!
Haben Sie Fragen zu diesem Produkt?
Nehmen Sie Kontakt mit unserem Kundenservice über [email protected] auf. Wir helfen Ihnen gerne!

Zuletzt angesehen

Elematic Flachsteckhülse (m) - 6,3 mm / rot - halbisoliert (100 Stück)
Elematic
Flachsteckhülse (m) - 6,3 mm / rot - halbisoliert (100 Stück)
Typ / Farbe: Flachstecker / Rot
Männlich (halbisoliert)
Einsteckbreite: 6,3 ...
€15,99 €13,44
* Inkl. MwSt. zzgl. Versandkosten
Varta Varta V321 (SR65) Silberoxid Knopfzelle / 1 Stück
Varta
Varta V321 (SR65) Silberoxid Knopfzelle / 1 Stück
Anzahl Batterien: 1
Batterietyp: V321 (SR65)
Spannung und Kapazität: 1,55 V ...
€1,99 €1,67
* Inkl. MwSt. zzgl. Versandkosten
Elematic Flachsteckhülse (v) - 6,6mm / rot - halbisoliert (100 Stück)
Elematic
Flachsteckhülse (v) - 6,6mm / rot - halbisoliert (100 Stück)
Typ / Farbe: Flachstecker / Rot
Weiblich (halb isoliert)
Steckbreite: 6,6 mm...
€14,99 €12,60
* Inkl. MwSt. zzgl. Versandkosten
DeLOCK Kabelbinder mit Montageclip | 100 x 2,5mm | Schwarz | 10 Stück
DeLOCK
Kabelbinder mit Montageclip | 100 x 2,5mm | Schwarz | 10 Stück
• Ausführung: Kabelbinder mit Montageklammern
• Abmessungen (L x B): 100 x 2,5...
€1,99 €1,67
* Inkl. MwSt. zzgl. Versandkosten

Eigenschaften

SKU
EL-11230163
0/5
0 Sterne, basierend auf 0 Bewertungen
0 reviews
Wähle deine Sprache
Wähle deine Währung

Mein Konto

Passwort vergessen?

Zuletzt hinzugefügt

Gesamt inkl. MwSt
€0,00
Kostenloser Versand wenn Sie noch €75,00 zusätlich bestellen
0
Vergleichen
Vergleich starten

Review Elematic Flachsteckhülse (m) - 6,3 mm / rot - halbisoliert (100 Stück)

Dieses Produkt wurde in Ihren Warenkorb gelegt!