Menu
EUR
Flachsteckhülse (m) - 6,3mm / gelb - halbisoliert (100 Stück)
€25,99 Inkl. MwSt.
Zum Warenkorb hinzufügen
Flachsteckhülse (m) - 6,3mm / gelb - halbisoliert (100 Stück)
Elematic

Flachsteckhülse (m) - 6,3mm / gelb - halbisoliert (100 Stück)

€25,99 Inkl. MwSt.

Typ / Farbe: Flachstecker / Gelb
Männlich (halbisoliert)
Steckbreite: 6,3 mm
Steckdicke: 0,8 mm
Aderquerschnitt: 4,0 - 6,0 mm² Lesen Sie mehr.

3-5 Werktage
  • Kundenbewertung 9,2/10
  • 3–5 Werktage Lieferzeit
  • 10+ Jahre Produktkenntnis

Produktbeschreibung

Flache Kabelschuh (m) - 6,3 mm / gelb - halbisoliert (100 Stück)

Verwenden Sie diesen Kabelschuh für vielfältige Anwendungen. Die Lieferung umfasst 1 Beutel mit 100 Kabelschuhen.

Kabelschuhe

Kabelschuhe sind häufig verwendete Bauteile in der Elektrotechnik. Ein Kabelschuh ist ein Fast On (oder Push On) Anschluss, der mit einer speziellen Crimpzange an ein Kupferkabel gepresst wird. Es gibt verschiedene Arten von Kabelschuhen, die Sie als praktische Verbindungselemente zum Verbinden von Kabeln verwenden können.

Verschiedene Farben der Kabelschuhe

Kabelschuhe sind in 3 verschiedenen Farben erhältlich:
  • rot: maximale Stromstärke zwischen 0 und 16 A und Leiterquerschnitt zwischen 0,25 und 1,5 mm² (AWG 22-16)
  • blau: maximale Stromstärke zwischen 17 und 25 A und Leiterquerschnitt zwischen 1,5 und 2,5 mm² (AWG 16-14)
  • gelb: maximale Stromstärke zwischen 26 und 40 A und Leiterquerschnitt zwischen 4,0 und 6,0 mm² (AWG 12-10)

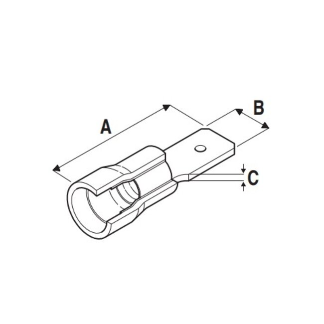
Technische Daten Flacher Kabelschuh (m) - 6,3 mm / gelb - halbisoliert (100 Stück)

  • Typ: Flachstecker
  • Ausführung: männlich
  • Isolierung: halbisoliert
  • Länge: 24 mm (siehe A)
  • Breite: 6,3 mm (siehe B)
  • Dicke: 0,8 mm (siehe C)
  • maximale Stromstärke: 26 bis 40 A
  • Leiterquerschnitt: 4,0 bis 6,0 mm² (AWG 12 bis AWG 10)
  • Material: elektrolytisch verzinntes Kupfer mit PVC-Isolierung
  • Lieferumfang: 1 Beutel mit 100 Kabelschuhen
  • Farbe: gelb
  • Konformität: RoHS, UL (E344188)
  • Garantie: 2 Jahre

Downloads

Eigenschaften

SKU
EL-11230463
Haben Sie Fragen zu diesem Produkt?
Nehmen Sie Kontakt mit unserem Kundenservice über [email protected] auf. Wir helfen Ihnen gerne!
Haben Sie Fragen zu diesem Produkt?
Nehmen Sie Kontakt mit unserem Kundenservice über [email protected] auf. Wir helfen Ihnen gerne!

Zuletzt angesehen

Elematic Flachsteckhülse (m) - 6,3mm / gelb - halbisoliert (100 Stück)
Elematic
Flachsteckhülse (m) - 6,3mm / gelb - halbisoliert (100 Stück)
Typ / Farbe: Flachstecker / Gelb
Männlich (halbisoliert)
Steckbreite: 6,3 mm...
€25,99 €21,84
* Inkl. MwSt. zzgl. Versandkosten
IEC LOCK C13 (rechtwinklig/unten mit IEC Lock) - C14 Stromkabel für UPS/PDU - 3x 1,00mm² / schwarz - 2 Meter
IEC LOCK
C13 (rechtwinklig/unten mit IEC Lock) - C14 Stromkabel für UPS/PDU - 3x 1,00mm² / schwarz - 2 Meter
C13 (w) - C14 (m)
Winkeliger C13 (unten) - gerader C14
Kabel: H05VV-F 3G1,00mm²
...
€20,99 €17,64
* Inkl. MwSt. zzgl. Versandkosten
Goobay Batteriefach für 2 AA-Batterien - Push-On Befestigung - Version 1
Goobay
Batteriefach für 2 AA-Batterien - Push-On Befestigung - Version 1
Typ: Batteriefach
Batterietyp: Penlite AA (LR6, FR6, HR6)
Anzahl der Batteri...
€0,99 €0,83
* Inkl. MwSt. zzgl. Versandkosten
Varta Varta AA (LR6) Longlife Power Batterien – 12 Stück Blisterpackung
Varta
Varta AA (LR6) Longlife Power Batterien – 12 Stück Blisterpackung
Anzahl Batterien: 12
Batterietyp: Penlite AA (LR6)
Spannung: 1,5 V
Technol...
€8,99 €7,55
* Inkl. MwSt. zzgl. Versandkosten

Eigenschaften

SKU
EL-11230463
0/5
0 Sterne, basierend auf 0 Bewertungen
0 reviews
Wähle deine Sprache
Wähle deine Währung

Mein Konto

Passwort vergessen?

Zuletzt hinzugefügt

Gesamt inkl. MwSt
€0,00
Kostenloser Versand wenn Sie noch €75,00 zusätlich bestellen
0
Vergleichen
Vergleich starten

Review Elematic Flachsteckhülse (m) - 6,3mm / gelb - halbisoliert (100 Stück)

Dieses Produkt wurde in Ihren Warenkorb gelegt!